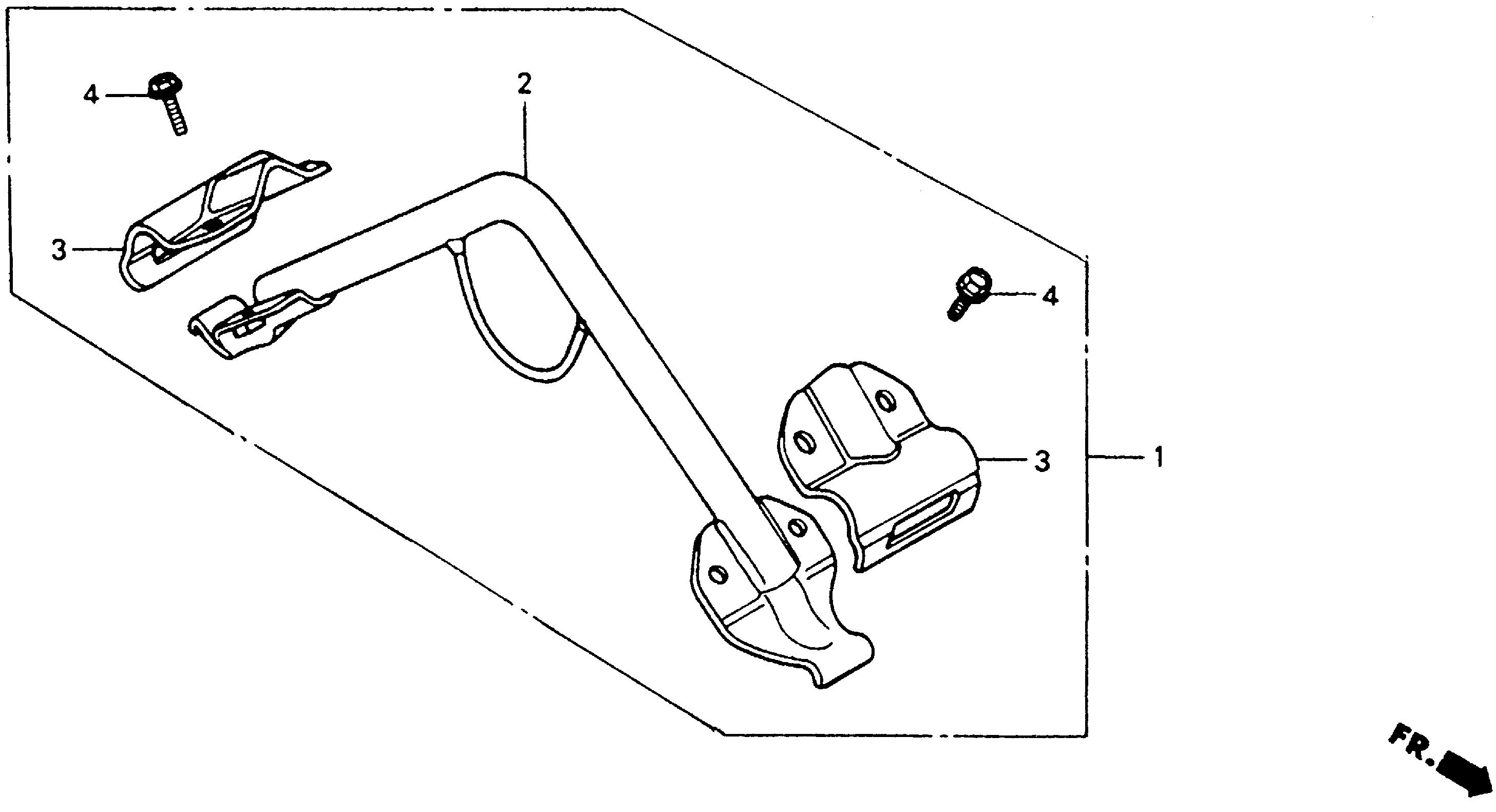
Generators EM EM4000 EM4000 A GE400-1000001-9999999 HANGER - O'Connor's Lawn & Garden

Ref No
Part Number
Description
Serial Range
Qty
Price

Ref No
1
Part Number
06810-899-800
Description
HANGER KIT
Serial Range
1000001 - 1081652

Ref No
1
Part Number
06810-899-801
Description
HANGER KIT
Serial Range
1081653 - 9999999

Ref No
2
Part Number
53150-899-801
Description
HANGER
Serial Range
1000001 - 1081652

Ref No
2
Part Number
53150-899-802
Description
HANGER (NOT AVAILABLE)
Serial Range
1081653 - 9999999

Ref No
3
Part Number
53155-899-801
Description
BRACKET, HANGER (UPPER)
Serial Range
1081653 - 9999999
Qty
Price
$18.86

Ref No
4
Part Number
95700-08016-00
Description
BOLT, FLANGE (8X16)
Serial Range
1000001 - 9999999

Ref No
4
Part Number
95701-08016-00
Description
BOLT, FLANGE (8X16)
Serial Range
1000001 - 9999999
Qty
Price
$2.26